Injap rama -rama pemegang beralun adalah ringan, mempunyai kelajuan beralih yang agak cepat, dan jarak operasi yang kecil. Ia telah membuka dan menutup kata -kata skala di atasnya, yang dapat mengenal pasti keadaan penukaran dengan mudah.
Injap rama -rama pemegang beralun adalah ringan, mempunyai kelajuan beralih yang agak cepat, dan jarak operasi yang kecil. Ia telah membuka dan menutup kata -kata skala di atasnya, yang dapat mengenal pasti keadaan penukaran dengan mudah.
| Bahan badan | Besi tuang nodular |
| Model | D81X-16Q |
| Spesifikasi | DN50-200 |
| Tekanan nominal | 1.0/1.6/2.5mpa |
| Suhu operasi | 0-80 ° C. |
| Media yang berkenaan | air |
| Piawaian reka bentuk | GB/24924-2016 |
Gambaran Keseluruhan Produk
Injap ini adalah injap rama -rama getah (NBR) yang dimeteraikan, yang digunakan secara meluas dalam bekalan air dan sistem saluran paip saliran dalam kuasa elektrik, hidraulik, metalurgi, industri kimia, pembinaan bandar, dan industri lain sebagai pembukaan dan penutupan peranti untuk mengawal aliran media. Injap rama -rama (pengapit) adalah jenis injap sambungan baru yang direka dan dihasilkan dengan memperkenalkan produk canggih yang sama dari Amerika Syarikat dan Jerman.
Ciri -ciri
Ia pantas, mudah, dan selamat dipasang, tidak dibatasi oleh tapak pemasangan, mudah untuk penyelenggaraan saluran paip dan injap, mempunyai getaran dan penebat bunyi, dan mengatasi sisihan yang disebabkan oleh sambungan koaksial saluran paip dalam julat sudut tertentu. Ia menyelesaikan kelebihan pengembangan haba dan penguncupan yang disebabkan oleh perbezaan suhu.
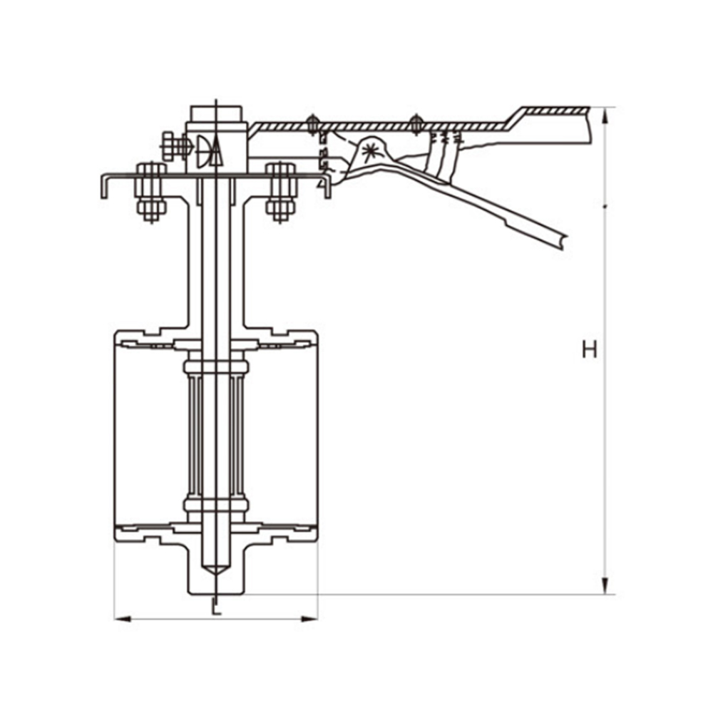
Parameter produk
| D81X-16Q | Dn | 50 | 65 | 80 | 100 | 125 | 150 | ||
| L. | 80 | 80 | 80 | 102 | 110 | 110 | |||
| H | 180 | 195 | 215 | 260 | 285 | 315 | |||
| Lingkaran luar | 60 | 76 | 89 | 108 | 114 | 140 | 159 | 165 | |
Mengenai Changshui
Changshui Technology Group Co., Ltd.is a valve integrating R&D, manufacturing, sales and service The manufacturer is currently one of the main suppliers of general-purpose valves in China. The main products are: gate valves, globe valves, butterfly valves, ball valves, check valves, regulating valves, pressure reducing valves, diaphragm valves, plug valves, plunger valves, drains Valves, hydraulic control valves, etc. Produk berkualiti tinggi telah dipuji dan dihormati oleh pengguna dalam pelbagai industri, dan digunakan secara meluas dalam pembinaan, pemanasan, bekalan air, petroleum, kimia, kuasa elektrik dan industri lain! Tujuan syarikat itu adalah untuk menyumbang kepada masyarakat dengan produk berkualiti tinggi. 'Matlamat kami adalah untuk membuat kepuasan pengguna'. Dasar kualiti kami ialah: "Memenuhi keperluan dan harapan pengguna untuk kualiti produk dan melompat ke hadapan tahap pengurusan kualiti kelas pertama, pembuatan produk kelas pertama, mewujudkan perkhidmatan kelas pertama," Industri CShuvalve mempunyai syarikat bersedia untuk bekerja dengan rakan-rakan baru dan lama, dan rakan sekerja dalam masyarakat, dan pengguna di rumah dan di luar negeri untuk bergabung dengan tangan lagi!
Pengenalan kepada komponen injap rama -rama Injap rama -rama adalah jenis injap serba boleh dan digunakan secara meluas dalam pelbagai industri,...
READ MOREMasalah injap pintu biasa Injap pintu adalah komponen penting dalam pelbagai sistem perindustrian dan kediaman, menyediakan cara yang boleh dipe...
READ MOREMemahami injap cek Injap cek adalah peranti mekanikal yang membolehkan cecair atau gas mengalir ke satu arah sahaja. Fungsi utamanya adalah untu...
READ MORE1. Gambaran Keseluruhan Cast Besi mulur Cast besi mulur, juga dikenali sebagai besi tuang nodular atau besi grafit spheroidal, adalah sejenis be...
READ MORE1. Memahami injap dan tempat duduk Injap dan tempat duduk adalah komponen penting dalam mengawal aliran cecair atau gas dalam saluran paip, enji...
READ MORE